Metryczne śruby kołnierzowe z łbem sześciokątnym ASME B18.2.3.4M
Produkt: Śruby kołnierzowe z łbem sześciokątnym, metryczne ASME B18.2.3.4M
Klasa właściwości: 4,6,4,8,5,6,5,8,8,8,10,9,12,9,A2-70, A4-70,A4-80
Wykończenie: cynkowanie (żółty cynk, błękit cynkowy, kolor płukania), czarny, fosforan i olej, fosforan cynku, cynkowanie ogniowe (HDG), Dacromet, Geomet
Materiał: stal
Kraj eksportu: USA, Japonia, Australia, Europa i tak dalej
Wsparcie dostosowywania klienta
ASME B18.2.3.4M to norma opracowana przez Amerykańskie Stowarzyszenie Inżynierów Mechaników (ASME), która określa rozmiar, materiał, wydajność i inne wymagania dotyczące śrub kołnierzowych z łbem sześciokątnym. Łeb śruby jest sześciokątny, co ułatwia dokręcanie za pomocą narzędzi takich jak klucze i śrubokręty. Pod łbem śruby znajduje się powiększona powierzchnia kołnierza (zwana także powierzchnią nośną lub powierzchnią uszczelki). Ta powierzchnia kołnierza zwykle styka się z powierzchnią kołnierza lub innych części łączących, aby zapewnić większą powierzchnię styku, zwiększając w ten sposób nośność i skuteczność uszczelnienia połączenia.
Kino
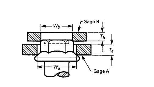
Rysunek głowy produktu
Specyfikacja głowicy produktu
Pomiar głowy |
M5 |
M6 |
M8 |
M10 |
M12 |
M14 |
M16 |
|
Wa |
maks |
8.09 |
9.25 |
11.56 |
15.02 |
17.33 |
20,79 |
24.26 |
min |
8.08 |
9.24 |
11.55 |
15.01 |
17.32 |
20.78 |
24.25 |
|
Ta |
maks |
2.30 |
2,90 |
3,80 |
4.30 |
5.40 |
5,60 |
6,80 |
min |
2.29 |
2,89 |
3,79 |
4,29 |
5,39 |
5,59 |
6,79 |
|
Wb |
maks |
7.43 |
8,55 |
10,79 |
14.07 |
16.31 |
19.67 |
22.57 |
min |
7.42 |
8,54 |
10,78 |
14.06 |
16.30 |
19.66 |
22.56 |
|
Tb min |
3.0 |
3.0 |
4,0 |
4,0 |
5,0 |
5,0 |
6,0 |
|
Wsparcie dostosowywania klienta |
||||||||
Rysunek produktu typu F
Typ produktu-FSpecyfikacja
Rozmiar typu F |
M5 |
M6 |
M8 |
M10 |
M12 |
M14 |
M16 |
|
Da maks |
5.7 |
6.8 |
9.2 |
11.2 |
13,7 |
15.7 |
17,7 |
|
Da min |
w skrócie |
5.1 |
6.2 |
8.3 |
10.2 |
12.2 |
14.1 |
16,5 |
Dsmin |
w skrócie |
4,36 |
5.21 |
7.04 |
8,86 |
10,68 |
12.50 |
14.50 |
Lf maks |
na długo |
1.4 |
1.6 |
2.1 |
2.1 |
2.1 |
2.1 |
3.2 |
w skrócie |
0,7 |
0,9 |
1.1 |
1.2 |
1.3 |
1.4 |
1.6 |
|
R1 min |
0,2 |
0,25 |
0,4 |
0,4 |
0,6 |
0,6 |
0,6 |
|
Wsparcie dostosowywania klienta |
||||||||
Rysunek typu produktu-U
Typ produktu-USpecyfikacja
Rozmiar typu U |
M5 |
M6 |
M8 |
M10 |
M12 |
M14 |
M16 |
|
Da maks |
6.2 |
7,5 |
10,0 |
12,5 |
15.2 |
17,7 |
20,5 |
|
Maks. Dv |
5.5 |
6.6 |
8.8 |
10.8 |
12.8 |
14.8 |
17.2 |
|
Ds min |
w skrócie |
4,36 |
5.21 |
7.04 |
8,86 |
10,68 |
12.50 |
14.50 |
Lf maks |
1.4 |
1.6 |
2.1 |
2.1 |
2.1 |
2.1 |
3.2 |
|
R3 |
maks |
0,25 |
0,26 |
0,36 |
0,45 |
0,54 |
0,63 |
0,72 |
min |
0,10 |
0,11 |
0,16 |
0,20 |
0,24 |
0,28 |
0,32 |
|
V |
maks |
0,15 |
0,20 |
0,25 |
0,30 |
0,35 |
0,45 |
0,50 |
min |
0,05 |
0,05 |
0,10 |
0,15 |
0,15 |
0,20 |
0,25 |
|
Wsparcie dostosowywania klienta |
||||||||
Kilka słów wprowadzenia na temat naszej firmy
Aplikacja
Nasze produkty znajdują szerokie zastosowanie w przemyśle mechanicznym, elektrycznym, motoryzacyjnym, budowlanym, kolejowym, mostowym, parowym, przeciwpożarowym i komunikacyjnym itp.
Warsztat
Orzecznictwo
Dzięki zarządzaniu naukowemu firma Jinan Star Fastener Co., Ltd. uzyskała certyfikat systemu zarządzania jakością ISO9001 w wersji 2015. W 2017 roku laboratorium przeszło krajową certyfikację CNAS. W 2018 roku firma przeszła europejski certyfikat CE.
Sprzęt pomiarowy
Nasza firma posiada specjalistyczne laboratorium wyposażone w cyfrowe twardościomierze, mikroskopy, uniwersalne maszyny wytrzymałościowe, mierniki siły osiowej, urządzenia do wykrywania kruchości wodorowej, defektoskopy cząstek magnetycznych, analizatory metalograficzne, analizatory węgla i siarki oraz maszyny do badania mgły solnej itp. Sprzęt do badań eksperymentalnych jest służy do przeprowadzania kompleksowych badań składu chemicznego surowców, twardości produktu, właściwości mechanicznych, grubości powłoki i odporności na korozję, aby mieć pewność, że wszystkie produkty spełniają wymagania norm i zadowalają klientów.
Sprzęt produkcyjny
Nasza firma posiada ponad 300 urządzeń produkcyjnych. Proces produkcji produktów obejmuje: wyżarzanie, śrutowanie, walcowanie na zimno, walcowanie gwintów, obróbkę cieplną, cynkowanie, testowanie gotowego produktu, pakowanie itp. Wszystko to odbywa się w firmie.
Uszczelka
Praca
1. Dostosowywanie i rozwój produktu: Star może świadczyć usługi dostosowywania produktów do indywidualnych potrzeb w oparciu o specyficzne potrzeby klientów. Obejmuje to projektowanie i rozwój produktu w oparciu o środowisko aplikacji, wymagania materiałowe, specyfikacje rozmiarów i inne parametry w celu zaspokojenia specyficznych potrzeb klientów.
2. Usługa hurtowa części standardowych: Star zazwyczaj świadczy usługi hurtowe części standardowych, aby ułatwić klientom szybki zakup wymaganych produktów. Obejmuje to dostarczanie szczegółowych informacji o produkcie i stanie zapasów, aby klienci mogli łatwo wysyłać zapytania i składać zamówienia. Jednocześnie producent współpracuje z szeregiem firm logistycznych, aby mieć pewność, że produkty zostaną dostarczone do klientów bezpiecznie i terminowo.
Często zadawane pytania
1. Czy możesz przesłać cennik?
Z pewnością. Zostaw tutaj swój adres e-mail, a my wyślemy cennik w ciągu 2 godzin roboczych.
2. Jak kontrolujesz swoją jakość?
Wymagamy, aby kontrola jakości sprawdzała każde ogniwo produkcyjne każdej partii towarów. Po skompletowaniu towaru możemy dostarczyć Ci certyfikat MTC i certyfikat fabryczny.
3. Czy mogę dostać próbki?
Nowym klientom możemy bezpłatnie dostarczyć standardowe próbki elementów złącznych, ale klienci zapłacą koszty ekspresowe. W przypadku starych klientów wyślemy Ci próbki za darmo i sami uiścimy opłatę ekspresową.












